Location -> Products -> Flow -> Flowmeter For Liquid
Type:CX-PFM-LE1 digital target flow meter
Illustrate:it is widely used in petroleum, chemical, energy, food, environmental protection, hydraulic and other fields.
CX-PFM BL Type Digital Target Flow Meter
Brief Introduction1.Combing new sensor technology and modern digital technology
2.It offers features of target type, orifice, vortex and other conventional type of flowmeters
3.With its unique resistance to interference and impurity, as well as light and reliable features
4.Widely used in petroleum, chemical, energy, food, environmental protection, hydraulic ,etc
Main Features
1)High accuracy to measure flow of liquid, gas, steam, viscous medium at various temperature
2)High sensitivity, and can measure extremely low flow rate as low as 0.8m/s.
3)It is free of moveable parts, safe and reliable.
4)It offers accurate measurement at high precision up to 0.2% for total measurement.
5)It offers a wide turndown ratio of measurement up to 1:30.
6)It offers excellent repeatability typically between 0.1~0.08%, and fast measurement.
7)It offers low pressure loss, which is only at about 1/2ΔP of a standard orifice plate.
8)It can use dry type calibration method, which is weight carrying method.
9)It can change the flow rate measurement range by changing the target as required.
10) It offers online reading and can send signal.
11) It offers easy installation and simple maintenance.
Technical Parameters
| Measured Medium | Liquid | Gas | Steam |
| Nominal Diameter | Tube type 15~300mm | Clamp-on type 15~600mm | Insert type 100~2000mm |
| Nominal Pressure | 0.6~10MPa | 0.6~42MPa | 0.6~42MPa |
| Medium Temperature | 196℃~+450℃(Applicable temperature range to be determined during ordering) | ||
| Accuracy | ±0.2% | ±0.5% | ±1.0% |
| Turndown Ratio | 1:3 | 1:5 | 1:10 |
| Repeatability | 0.1% ~0.08% | ||
| Power Supply | Built-in Lithium battery (3.6V); external power supply 24VDC | ||
| Output Type | Field reading display; 4~20mA; pulse; 0~10V; RS232/RS485 (optional) | ||
| Measuring Tube Material | Carbon steel; 304; 316L; or according to user requirement | ||
| Explosion-proof Mark | Intrinsically safe type (Exia II CT4) explosion-proof type (Exia II BT4) | ||
| Explosion-proof Class | IP65; IP67 | ||
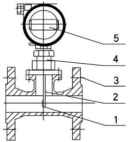
Construction
The CX-PFM-LE1 type flowmeter mainly consists of measuring tube (casing), pressure element (target),
sensing element (force sensor, pressure sensor, temperature sensor), transition component (varies according
to temperature and pressure), accumulative calculation, display, and output components.
The construction is shown as follows:
- Pressure element (target)
- Force sensing element (including temperature, pressure sensing elements)
- Measuring tube
- Transition component
- Accumulative calculation, display, and output components
When the medium is flowing in the measuring tube, the differential pressure due to its own kinetic energy
and flow resistance part (target) will act on the pressure part (target), whose size is proportional to the
square of the medium flowrate, and the formula is as follows:
Last: CX-PTFM-XKF510 plastic turbine.. Next:CX-OGFM-DTO Oval Gear Flow meter











