欢迎来到上海瓷熙仪器仪表官网 | 精密流体测量解决方案领导者官网!

U型科里奥利质量流量计

U型科里奥利质量流量计是根据科里奥利力原理开发的一种流量测量仪表。

口径 DN10~200
流量范围 0~1000t/h
流量精度 0.1~0.5%
密度精度 ±0.002g/cm³
温度精度 ±1℃
产品描述
型号规格
技术参数
应用领域

产品概述

U型科里奥利质量流量计是根据科里奥利力原理开发的一种流量测量仪表,可直接测量封闭管道内流体的质量流量和介质的密度。流量计由流量测量传感器和信号转换器两部分组成。

工作原理

当一个位于旋转运动的管子内的质点做朝向旋转中心或离向旋转中心的运动时,将产生一惯性力,即科里奥利力。实际的流量传感器并非实现旋转运动,而代之以管道振动。

一个管道的两端被固定,在两个固定点的中间位置给管道施加振动力,使其以固定点为轴以其自然频率振动。当管道内没有流体流动时,管道只受外加振动力作用,管道两个半段振动方向相同,没有相位差。当有流体流动时受管道内流动的介质质点科氏力的影响,管道的两个半段以相反的方向发生扭动,产生相位差,这一相位差同质量流量成正比。传感器的设计就是把科氏力的测量转为对振动管两侧相位时差的测量。

主要特点

直接测量质量流量

能够直接测量流体的质量流量,对能源的计量和化学反应等生产过程检测控制具有重要意义。

测量准确度高

测量准确度可保证在0.1%~0.5%,满足高精度计量需求。

可测比大

一般保证基本准确度的可测比为10:1或20:1,适应不同流量范围。

应用范围广

除正常的流体测量外还可测量一般流体测量仪表较难测量的工业介质,如高粘度流体、各种浆液、悬浮液等。

多参数测量

可在线测量被测介质的密度、温度等参数,并以此派生测量溶液中溶质的浓度。

安装简便

安装要求不高,对上下游管段没有什么要求,运行可靠、维修率低。

安装要求

正确的安装是确保流量计准确测量和长期稳定运行的关键。请遵循以下安装指导:

1
流向一致

质量流量计传感器安装应使传感器流向标识与流体流向一致。

2
避免振动

科氏质量流量计是根据测量管振动原理测量的流量仪表,因此传感器安装时应考虑相关管路做坚固的支撑,避免仪表及相关管路产生震动。

3
安装方向

流量传感器的安装基本原则是必须保证传感器内的振管在垂直状态下工作。测量液体介质时振管应朝下垂直安装,以避免气体积存在振管内。

4
固定支架

传感器安装时传感器两端应用支架固定,固定支架应安装在稳定无振动的界面。

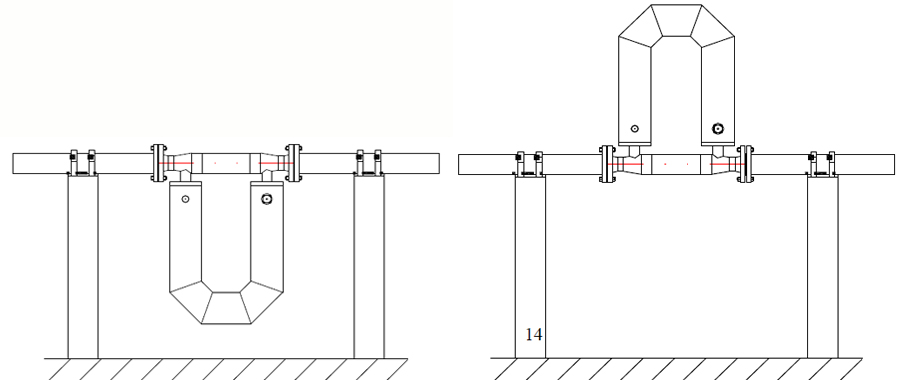
安装示意图

液体介质测量时传感器水平安装示意图:

ScreenShot_2025-11-25_173644_372.jpg

零点调整

流量计初始安装时可能产生安装应力,此应力可能使流量计零点发生变化,使测量产生误差。因此流量计初始安装后必须检查流量计零点。若零点发生变化应进行零点校正操作。

零点校正准备工作包括:流量计预热运行,用被测介质湿润传感器使其温度接近正常工作温度;然后停止介质流动(关闭流量计两侧阀门),确保传感器处在满管状态;等待3~5分钟,确保流体完全停止流动状态;采取措施保证管路及传感器处在静止状态,防止管路振动等影响正确的调零过程。

U型传感器规格及技术参数

U型结构质量流量计传感器适用于DN10至DN200的通径范围。

通径 (DN) mm流量范围 kg/h零点稳定性 kg/h
2060~60000.9
2596~96001.44
32180~180002.7
40300~300004.5
50480~480007.2
801200~12000018
1001920~19200030
1504200~42000060
2007200~720000100

注:流量范围给出了两个参数,中间参数为标准流量范围,一般出厂检验按此量程进行检验,同时也建议用户在此量程范围内选用仪表;后一个参数为保证传感器稳定工作的上限流量范围。

流量测量精度

流量计精度测量误差重复性
0.1%±0.1% ±(零点稳定性/测量值)%1/2测量误差%
0.15%±0.15% ±(零点稳定性/测量值)%1/2测量误差%
0.2%±0.2% ±(零点稳定性/测量值)%1/2测量误差%

主要技术参数

测量精度0.1%~0.5%(根据型号不同)
密度测量范围0.3~3.000g/cm³
密度测量精度±0.002g/cm³
温度测量范围-200~350℃
温度测量精度±1℃
被测介质工作温度标准型:-50~200℃
高温型:-50~350℃
低温型:-200~100℃
适用环境温度-40℃~60℃
材质测量管316L,外壳304
工作压力0~4.0MPa
防爆标志Exd[ia] II CT6Gb

主要技术参数

口径 DN10~200
流量范围 0~1000t/h
流量精度 0.1~0.5%
密度精度 ±0.002g/cm³
温度精度 ±1℃
工作温度 标准型:-50~200℃ 高温型:-50~300℃ 低温型:-200~100℃
环境温度 -40℃~60℃
材质 测量管316L,外壳304
工作压力 0~4.0MPa(高压定制咨询工程师)
防爆标志 Exd[ia] II CT6Gb

注:以上参数为标准配置,可根据客户需求定制特殊规格产品。

应用领域

U型科里奥利质量流量计的特点确定了其可以在下述领域中得到广泛的应用:

流体能源计量

石油、化工原料及产品的装车(装船)、卸车(卸船)的计量及包装计量

生产过程控制

石油、化工、食品、医药行业生产过程对物料的精准计量、控制

高粘度物料计量

高粘度物料的在线计量,例如沥青、重油、油脂的计量

悬浮物物料计量

有悬浮物及固体颗粒物物料的计量,例如水泥浆、石灰浆的计量

易凝固物料计量

易凝固物料的保温计量,例如沥青等易凝固物料的计量实现保温状态工作

中高压气体计量

中高压气体的精确计量,例如CNG石油天然气的计量

微小流量测量

微小流量测量,例如精细化工及医药行业微小流量的测量

密度及浓度测量

在线测量介质的密度,并以此派生出测量溶液的溶质所含的浓度

获取定制化解决方案

我们的工程师将在24小时内联系您,提供专业的产品选型建议和技术支持